Jiangsu Xuben Photolectric Technology Co., Ltd.
Jiangsu Xuben Photolectric Technology Co., Ltd.
제품
SC/APC SX 어댑터 (플랜지없이)
  • SC/APC SX 어댑터 (플랜지없이)SC/APC SX 어댑터 (플랜지없이)

SC/APC SX 어댑터 (플랜지없이)

고객 PN :1000053203회전:A.1승인 :C.C날짜:07/10/2024제품 설명 :Coupler라고도하는 광섬유 어댑터는 두 개의 커넥터를 정확하게 연결하여 두 개의 광섬유 라인 사이에 광섬유 케이블 또는 광섬유 커넥터를 종료하거나 연결하도록 설계된 작은 장치입니다. 광섬유 어댑터를 사용하면 광원을 최대로 전송하고 가능한 한 손실을 낮출 수 있습니다. 동시에, 광섬유 어댑터는 낮은 삽입 손실, 우수한 상호 교환 성 및 재현성의 장점을 가지고 있습니다.애플리케이션:● 통신 네트워크● 지역 지역 네트워크 (LAN)● 통신 시스템......
고객 PN : 1000053203 회전: A.1
승인 : C.C 날짜: 07/10/2024


제품 설명 :

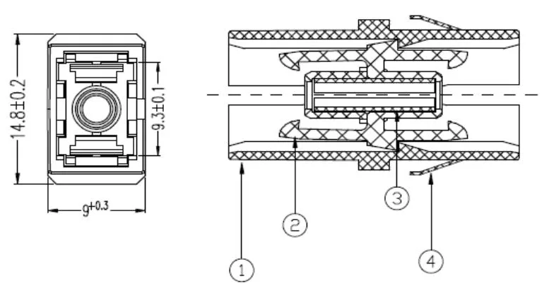
Coupler라고도하는 광섬유 어댑터는 두 개의 커넥터를 정확하게 연결하여 두 개의 광섬유 라인 사이에 광섬유 케이블 또는 광섬유 커넥터를 종료하거나 연결하도록 설계된 작은 장치입니다. 광섬유 어댑터를 사용하면 광원을 최대로 전송하고 가능한 한 손실을 낮출 수 있습니다. 동시에, 광섬유 어댑터는 낮은 삽입 손실, 우수한 상호 교환 성 및 재현성의 장점을 가지고 있습니다.


애플리케이션:

● 통신 네트워크

● 지역 지역 네트워크 (LAN)

● 통신 시스템

● 전제 설치

● 넓은 지역 네트워크 (WANS)

● 비디오 전송

● 패치 코드 간 연결

● FTTX, CATV

● 장치 간 연결

● Compliancy Roh

● 한 피스 바디


성능 사양 :

매개 변수 SC/ APC 어댑터
바디 스타일 단순성
커넥터 섬유 모드 단일 모드
색상 녹색
소매 소재 세라믹
삽입 손실 ≤0.2db
교대 손실 ≤0.2db
반복성 ≤0.2db
내구성 1000 보간 시간의 변화는 0.2dB 미만입니다.
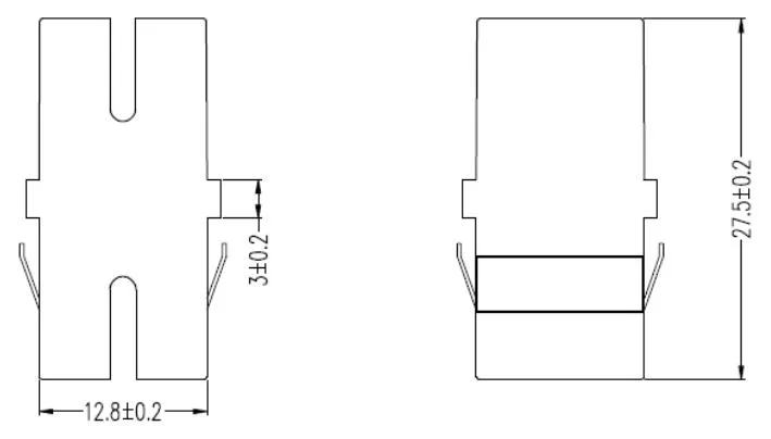
패키지 치수 (L) × (W) × (H) 27.5x14.8x9 mm
작업 온도 -40 ~ 85 ° C
저장 온도 -40 ~ 85 ° C


약도:

SC/APC SX Adapter (Without Flange) SpecSC/APC SX Adapter (Without Flange) Spec



핫 태그: SC/APC SX 어댑터 (플랜지없이)
문의 보내기
연락처 정보
당사 제품 또는 Pricelist에 대한 문의를 보려면 이메일을 저희에게 맡기면 24 시간 이내에 연락을 드리겠습니다.
X
We use cookies to offer you a better browsing experience, analyze site traffic and personalize content. By using this site, you agree to our use of cookies. Privacy Policy
Reject Accept